Зачем Ford хочет устанавливать в свои электромобили фейковые рычаги переключения передач - «Электромобили»
 
        
| ✔ Это может показаться удивительным, но электромобили появились раньше автомобилей с двигателем внутреннего сгорания — первый электромобиль был создан в 1841 году. А в 1899 году французский автомобиль с электродвигателем установил новый рекорд скорости на суше. Он первым в мире преодолел скорость в 100 км/ч и установил рекорд в 105,882 км/ч. | 
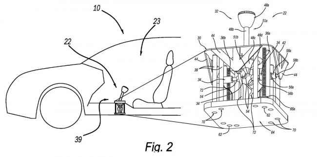
Патентное ведомство США зарегистрировало 20 марта документ 2025/0092947, в котором описывается устройство под названием «Shifter Assembly For Electric Vehicle». Автор патента – компания Ford. По своей сути новинка является имитацией механической коробки переключения скоростей с характерной рукояткой, но предназначается она для электромобилей.
В подобном устройстве нет практической нужды — напротив, оно даже немного вредно. Все управление распределением энергии, скоростью вращения и крутящим моментом на каждом электродвигателе осуществляется автоматически. Водитель просто прибавляет или убавляет газ, когда хочет разогнаться или притормозить. Вмешиваться в этот процесс, управляя им вручную, нецелесообразно.
Описанное в патенте устройство можно на самом деле подключить к системе управления электромобилем. Причем электронным способом настроить его на имитацию работы в произвольных режимах — например, для воспроизведения работы 5-ступенчатой или 7-ступенчатой КПП. Но основной режим его работы – имитация. Для этого устройство оснащается полным набором функций для обратной связи, как тактильной, так и акустической. Причем их тоже можно настраивать для копирования работы КПП разных моделей.
Причина появления таких имитаторов в том, что езда на электромобилях слишком скучна. Их двигатели работают тихо, разгон плавный, скорости не нужно переключать при движении в гору и на поворотах. По сути, человек сидит внутри большого робота, который везет его, куда укажут. А водителям хочется ощущать, что именно они контролируют ситуацию, управляя своей машиной. Поэтому помимо Ford и другие производители электромобилей уже озадачились установкой подобных имитаторов для комфорта пользователей.
И будьте в курсе первыми!


 
	 
	 
	 
	 
	 
	 
	 
	 
	 
	 
	 
	 
	 
	 
	 
	 
	 
		 
		