Tesla патентует технологию лазерной очистки автомобильных стекол и солнечных панелей - «Технологии»
✔ Технологии стоят у истоков любого изобретения. Благодаря им появляются новые устройства и материалы. В этом разделе вы найдете информацию о самых интересных технологиях современного хайтек мира. |
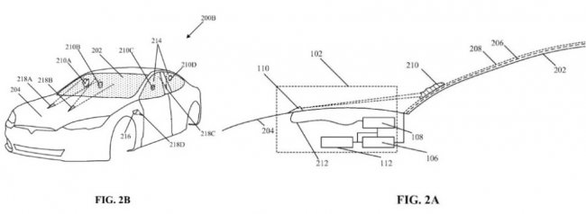
Совсем недавно Tesla представила электрический пикап будущего – Cybertruck, но как оказалось, это не единственный ее футуристичный проект. Компания разрабатывает технологию, с помощью которой установленные на электромобиле лазеры будут автоматически удалять грязь с лобового стекла.
Лазерные «дворники» для лобового стекла получили патент на этой неделе на основании поданной несколько месяцев назад заявки Tesla на продукт под названием «Импульсный лазер для очистки от грязи стекла автомобиля и фотоэлектрических систем».
Автор патентованного продукта Файроз Далал рассказал о принципе действия новой технологии очистки лобового стекла:
«Система очистки включает в себя оптический элемент, выпускающий лазерный луч, который сканирует стекло, обнаруживает загрязнение и передает информацию на контрольный элемент. Система управления калибрует параметры лазера на основании полученной информации и прицельно стреляет пульсирующим лучом на нужный участок стекла на глубину меньшую, чем толщина самого стекла».
В компании Tesla объясняют, что запатентованный лазерный стеклоочиститель сможет в автоматическом режиме удалять со стекол все загрязнения, затрудняющие не обзорность водителю, но и сбор данных камерами автопилота, управляющими движением электромобиля в беспилотном режиме.
В ближайшем будущем в Tesla планируют адаптировать такую же систему для очистки от загрязнений панелей на фирменных солнечных крышах.
Как и во многих других прогрессивных компаниях, в Tesla далеко не все полученные патенты находят воплощение в серийных продуктах. Тем не менее, пока что трудно представить, что может помешать использовать лазер на лобовом стекле в машине, управляемой автопилотом.
Источник: electrek.co
И будьте в курсе первыми!
