Боинг запатентовал концепт необычного самолёта для перевозки контейнеров - «Техника»
Грузовые контейнеры – универсальное средство для перевозки грузов практически на всех видах наземного и морского транспорта. Однако для транспортировки по воздуху их прямоугольная форма не совсем удобна, поэтому в грузовом отсеке самолёта, имеющем круглое сечение, можно разместить всего несколько
✔ Человечество всегда изобретало что-нибудь, чтобы облегчить себе жизнь. Вначале это были каменные топоры и дубины, а с изобретением колеса появилась и первая техника. Сейчас, конечно, от колеса человеческая мысль ушла довольно далеко вперед, но велосипеды изобретаются довольно регулярно. А также самолеты, корабли, поезда… В этом разделе вы узнаете обо всем, что летает, ездит и плавает и не только. |

Грузовые контейнеры – универсальное средство для перевозки грузов практически на всех видах наземного и морского транспорта. Однако для транспортировки по воздуху их прямоугольная форма не совсем удобна, поэтому в грузовом отсеке самолёта, имеющем круглое сечение, можно разместить всего несколько контейнеров.
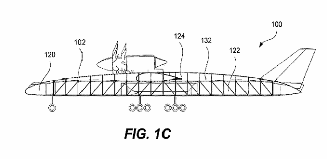
На минувшей неделе концерн Боинг запатентовал концепт транспортного самолёта, специально предназначенного для перевозки большого количества контейнеров. В нём они будут располагаться поперёк фюзеляжа в плотном ряду. Аэродинамический кузов будет «одеваться» на него сверху.

Корпус летающего контейнеровоза чем-то напоминает гигантский ластик с шарообразной пилотской кабиной. Самолёт будет летать с помощью четырёх мощных турбовинтовых двигателей, установленных в верхней части крыльев на высоте около 5500 метров.
Новый Боинг станет альтернативой эффективным, недорогим, но медленным наземным и морским транспортным средствам. Большое количество перевозимых по воздуху контейнеров позволит значительно снизить стоимость их доставки.


Подпишитесь
И будьте в курсе первыми!
И будьте в курсе первыми!
Минимальная длина комментария - 50 знаков. комментарии модерируются
Смотрите также
интересные публикации