Apple запатентовала технологию встраивания датчиков Touch ID и Face ID в дисплеи - «Смартфоны»
✔ Смартфоны |
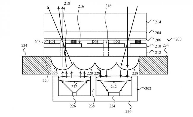
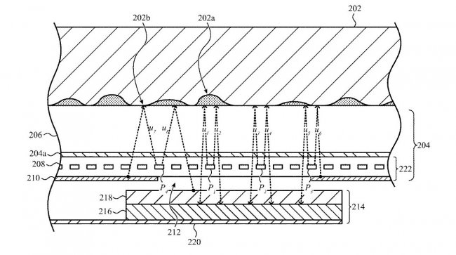
Ожидается, что Apple перейдет на безрамочный дизайн в iPhone 14, в котором будут удалены все ненужные компоненты на передней панели. Это означает, что в смартфонах не будет слотов Notch, которые являются неотъемлемой частью серии с момента премьеры iPhone X. Чтобы добиться этого эффекта, Apple должна придумать, как встроить датчики Touch ID и Face ID в сам дисплей.
На устранение всех проблем для реализации этой концепции требуется больше времени. Таким образом, компания не успевает оптимизировать технологию для премьеры iPhone 13. Планы Apple довольно амбициозны, компания уже зарегистрировала патент на размещение сенсоров под экранами.
Таким образом, iPhone 14 предложит пользователям совершенно новые возможности биометрической аутентификации.
Большим преимуществом является то, что технология позволяет проверять как Face ID, так и Touch ID. Другие устройства Apple также смогут воспользоваться этим нововведением, например, будущие версии Mac, которые смогут использовать распознавание лиц с экранными модулями.
Дизайнерское решение, позволяющее убрать рамки вокруг экрана, позволит добиться еще более привлекательного дизайна. Apple по-прежнему продолжает экспериментировать с различными конструкциями, чтобы предложить лучшее аппаратное решение для встраивания Touch ID и Face ID в дисплеи.
Миллионы поклонников Apple по всему миру, вероятно, будут довольны желанием компании улучшить дизайн своих будущих устройств с помощью новой технологии.
Источник: appleinsider
И будьте в курсе первыми!


